带式输送机胶带上的物料体积和堆型识别是判断胶带是否重载、过载(造成洒料)和偏载(洒料和效率降低)的基本条件,实时体积数据是评价输送系统输送效率的重要依据。通过机器视觉方法对胶带上物料的断面体积进行实时判断和计算,可以准确判断物料的体积,又可以提供实时故障画面或视频流,通过胶带重载、过载和偏载的分析,可以建立带式输送机的效率评价体系,对系统存在的短板进行及时的维护,提高作业效率,机器视觉可以达到人工巡检所不能完成的任务,及时且准确。
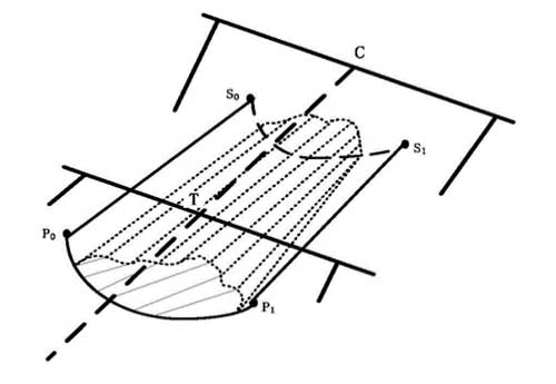
垂直胶带设置线性绿色光源,同胶带呈45度角安装高速网络摄像机,利用图像识别技术抓取绿色轮廓线,通过不同输送量成像点不同对胶带上物料的断面形状和体积进行判断和计算。

 |
 |
|
◆ 通过机器视觉自动识别胶带物料堆型的识别判断落料点是否对中;
◆ 通过机器视觉对堆型的连续识别判断胶带瞬时流量和连续流量;
◆ 可以同跑偏视觉识别相融合,给出跑偏原因分析;
◆ 可用于各种复杂恶劣的工况环境,适应不同的物料输送系统;
◆ 运行稳定可靠,维护量小,后期可以通过软件不断。
|
◆ 通过对胶带物料堆型的识别判断落料点是否对中,指导运行和检修;
◆ 通过堆型的识别可以判断胶带瞬时流量,找到瞬时流量超载的原因,避免洒料;
◆ 对特殊转运站布置,可以通过胶带堆料识别来控制料点调节挡板;
◆ 通过堆型识别,对运行时突然发生的料点跑偏给予主动纠偏控制,避免洒料,提高输送效率;
◆ 用于斗轮机悬臂胶带和地面胶带堆料体积的识别可以指导斗轮机作业,提高作业效率。